Note: This differs considerably from the article as published, for which I accept no responsibility.
We have already mentioned that speed flying is probably the earliest form of competitive control-line flying. Originally, models were simply tethered to the pilot by a single line attached to the end of a pole. There was only a rudimentary control of the models elevation by raising and lowering the pole. This was developed into a system where the models elevator was moved by twisting the line. For a while, this was available commercially as the 'Monoline' system and was a serious competitor for the more familiar two line bellcrank system.
In speed flying this had a very significant advantage because of the lower drag. In later years, when attempts were being made to slow down models in the international F2A class, such systems became illegal. They are still used in some specialist national classes but the lack of commercially available equipment makes models of this type fairly rare.
Modellers being the ingenious lot that they are, an interim legal system was devised where the two lines were grouped together to reduce drag. Sophisticated versions involved making one line follow behind the other by the use of small flags attached to the 'groupers'. Needless to say, these too were soon made illegal.
This has established a fairly familiar pattern where models, especially in the international FAI class have become progressively faster and measures have been introduced to slow them down. The current rules require a model which is flown on two lines and which uses 'straight' fuel (just methanol and a lubricant) to a fixed formula for glow motors, although diesel fuels are unrestricted. Surprisingly, perhaps, tuned pipes are permitted.
This might be a good point to stress that certain substances are prohibited for all fuels, i.e. Dioxan, Tetranitromethane and Nitrobenzine (lovely smell).
Ingenuity still plays its part and the tendency is to dispense with the inboard wing and utilise a high aspect ratio. It has been proposed that the ultimate model will have a 'span' equal to the line length with both lines enclosed entirely inside the inboard wing! Unfortunately, F2A models have a maximum span of 100 cm, although this can all be inboard of the thrustline.
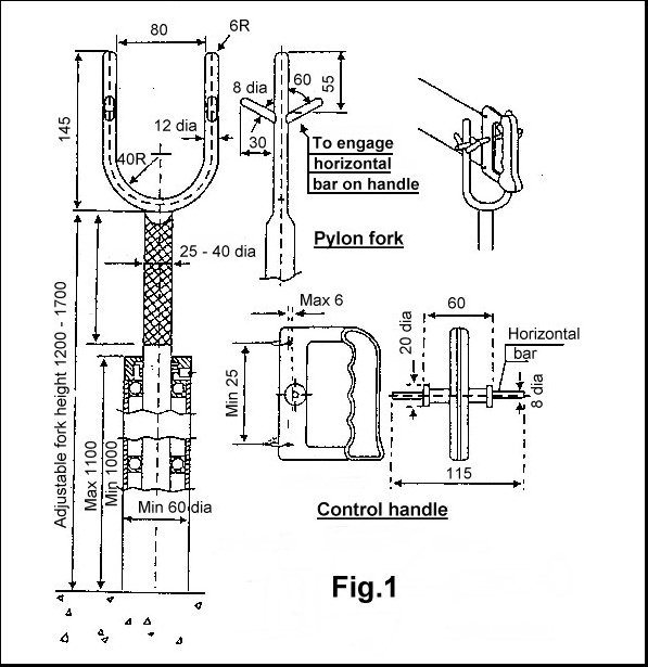
Any control-line model can be made to go faster by 'whipping', or using the arm to assist the model around. In order to prevent this, it became customary to insist that the pilot should place his wrist into some form of pivoting yoke attached to the top of a pylon. Many years ago, a world championships was won by a flyer who managed to get his whole body (with his wrist in the yoke) something like half a lap ahead of the model with the lines actually wrapping around his shoulder.
This same basic idea is still used for the majority of contests, but the FAI event insists on a more involved version where the handle has a bar which has to be engaged into a specially shaped yoke (Fig.1). Some people will tell you that this is much more difficult than making the model go quickly.

There are also BMFA rules relating to the line connections or terminations (Fig.2) for speed models. A safety thong must be fitted to the handle (see article on Combat).

Maybe my prejudices are showing here, but I would never use these. If you use stainless steel line, it can't be soldered anyway. All models are subjected to a line pull test and, unlike some other events, this is usually enforced (Fig.3).

Early speed models followed the simple route of squeezing the biggest possible motor into the smallest possible airframe. Getting this combination into the air could be difficult. Surviving the landing tended to be almost impossible. It was soon found that this wasn't necessarily the quickest combination either, and some more wing area could be helpful, although the shape and thickness could be important.
Thus began a development process leading to complex take-off devices and complicated arrangements intended to make a peaky tuned pipe work satisfactorily in two drastically different environments - low speed, high thrust and high speed, low drag. One method of dealing with this is to incorporate a centrifugal switch which changes the fuel mixture as the model accelerates. Rules also decree that an F2A model must be fitted with a shut-off.
Somewhere in there it was discovered that the cooling air supply to the motor contributed a very high proportion of the aerodynamic drag and that the cowling design was fairly critical. This fact was originally discovered in the 30's and exploited on the full-size P.51 fighter.
Our state of the art speed model now has a complex fuel system with mixture switch and shut-off, a 'peaky' tuned pipe (a whole art in itself) a complex take-off 'dolly' and - did we mention propellers?
This wonderful word actually came from the film industry I am told. A 'dolly' is a wheeled trolley which carries a camera (frequently along a wooden track). On a speed model it is a trolly which carries the model until it becomes airborne. Three wheels are usually preferred because they give better support on uneven ground and tend to go where the model leads rather than trying to steer themselves.
The trick is to ensure that the model cannot become airborne before it has sufficient flying speed. You won't get very far if the first bump pitches the model onto the ground. Normally, there will be some sort of lock, such as arms going over the leading edge of the wing. These arms are released to swing out of the way by a trailing arm under the dolly. This means that the model must be moving fast enough to lift the entire combination off the ground before the dolly can be released. If you go to watch a speed contest, beware the flying dolly!
We've already said that this is a whole art in itself. Books have been written on the subject. Pipes can be 'peaky', in which case they can give substantial gains in power, or 'broad-tuned', which means that they are really just low-loss silencers.
The problem with a peaky pipe is that it must be correctly adjusted, which is just the start of things. It will then only work at one speed - flat out. Getting this bit right means that you have to fly the model, it can't be done on the ground. Having done that, it simply won't give enough power to get the model off the ground. Yes, this is a classic 'chicken and egg' situation. Set it so that it will get airborne and it won't work in the air.
When the pipe works (comes 'on') the motor needs more fuel. The better the pipe works and the bigger the performance gain, the greater the increase in fuel required. If the motor is set correctly for 'in air', it will be much too rich on the ground. Set it to run on the ground and it will cut when the pipe works.
Enter the centrifugal switch which changes the needle setting as the models speed increases (yes, we are repeating ourselves, but you would be amazed by the number of people who still don't get the idea). You now have a minimum of two variables, both of which can only be set on a 'suck it and see' principal. Two variables because I don't believe anyone has perfected a system which gives a proportional change in mixture to match the speed, so just two settings are used.
The combination of a dolly and a peaky pipe can produce many problems. At the 1966 world championships, Bill Wisnewski of America gave the first demonstration of the use of a tuned pipe on a speed model. Bill was a very highly respected flyer and much was expected of him. The opposition were practically rolling about on the floor as the model circulated on the ground at low speed for lap after lap, emitting clouds of smoke.
After staggering off the ground, the model covered less than a lap before becoming almost invisible as it posted a new world record, no less than 20 mph faster than the existing figure. This was the only flight that Bill completed during the championships. What no-one realised at the time was that this was his conservative set-up. The rest of the time he was trying to go FAST.
Harold DeBolt is credited with inventing the 'pressure cowling' which makes the air speed up as it passes the engines cooling fins to give better cooling. The ratio of incoming volume to outgoing volume is quite critical and depends on the temperature rise.
It is interesting that a motor can actually be overcooled for maximum performance once it becomes airborne and it is not unusual to see cooling intakes blanked off. Quite what this does to the drag situation is another matter.
An item which is frequently overlooked is the matter of differential expansion of the motor. A rear exhaust motor can actually bend forwards as a result of heat build-up at the rear. Motors have actually been produced which are the wrong shape when cold to exploit this. A side exhaust motor can benefit from some sort of deflector to duct air around behind the exhaust even when no cowl is fitted.
We have mentioned elsewhere that speed models allow the tank design to be tailored to give optimum performance because the forces acting on them are fairly constant once under way. This is more critical than it might at first appear because speed models tend to carry only a relatively small amount of fuel.
Frequent use is made of the 'bladder' (so-called because of the actual use of fountain pen bladders) or balloon tank. These are also made up from suitable surgical tubing as on some combat models. A tank made in this way has a useful side effect. As the expanded rubber shrinks it can actually gain in tension (the hardest part of blowing up a balloon is the start). This can make the motor go rich just before it cuts. Motors (and plugs) tend to last longer that way.
The actual process of getting your wrist, or handle, into the yoke can be difficult and even hazardous. It helps to take a firm grip on the pylon before the model is released and never let it go. Finding it again can be a problem if you do.
Having got the model airborne and up to speed and the relevant item into the pylon, you then have the minor task of keeping up with the model while running around the pylon. Some flyers practice this by flying a simpler (and expendable) model on very short lines. A fast pilot can enhance the performance of a slow model. The other way around can only be expensive.
After finishing the timed part of the run, you can relax - or can you? On no account remove your wrist, or handle, from the pylon/yoke if the model is ahead of you. A fast, powerful model will take you clean off your feet. It is essential that you get ahead of the model first.
Having negotiated that one, you can spend the rest of the flight preying for the motor to stop!
This is undoubtedly the area where the greatest gains are to be made. The actual design is still largely a matter of experience. Materials are critical and, in general terms, the stiffer the better. Carbon fibre is probably by far the best material ('probably' because I'm not a practising speed flyer). Single blade props have theoretical advantages, not least because you don't have to match the blades.
There is, perhaps, still room for the hand carved wooden prop, but the good one will be broken on the next flight and how do you duplicate it?
Based on my own experiences in speed flying (some time ago) and R/C pylon (slightly more recently), most people are using too much propeller. Just how small you can go has probably still not been established. To hell with cubic inches, there ain't no substitute for rpm.
At an international C/L meeting in Belgium in 1959, the late, great, Kevin Lindsey produced a 'demon' hand carved wooden prop. It was simply too flexible to work on his own motor and limited the revs due to very noisy 'cavitation'. He swapped it for another with one of the Italian flyers (I believe his name was Garofali). The said gentleman fitted it to his model and won the contest!
| BMFA | |||||||
| Class | Engine capacity (cc) | Minimum line dia (mm) | Line length (metres) | Number of laps (1Km) | Max dry weight (gms) | Pull test (Kg) | |
| Monoline | 2 line | ||||||
| (a) .049 | 0 - 0.9 | 0.30 | 0.20 | 13.26 | 12 | 300 | 5 |
| (b) 0.12 | 0.9 - 2.0 | - | 0.30 | 14.47 | 11 | 450 | 15 |
| (c) 0.15 | 1.51 - 2.5 | 0.50 | 0.35 | 17.69 | 9 | 650 | 30 |
| (d) F.21 | 2.51 - 3.5 | - | 0.40 | 17.69 | 9 | 800 | 35 |
| (e) 21N | 2.51 - 3.5 | - | 0.40 | 15.92 | 10 | 800 | 30 |
| (f) 0.29 | 3.51 - 5.0 | 0.60 | 0.45 | 19.90 | 8 | 900 | 40 |
| (g) 0.40 | 5.01 - 7.0 | 0.60 | 0.45 | 19.90 | 8 | 900 | 40 |
| (h) F.40 | 5.01 - 7.0 | - | 0.45 | 19.90 | 8 | 1050 | 40 |
| (i) 0.60 | 7.01 - 10.0 | 0.75 | 0.55 | 19.90 | 8 | 1000 | 50 |
| 1300 | 60 | ||||||
| (j) Jet | Pulse jet | 0.65 | 0.50 | 19.90 | 8 | 1000 | 45 |
These are normally flown together with the score recorded being a percentage of the National record in each class. Highest percentage wins. Note that monoline is permitted for some classes
| Vintage Class 1 (Midge speed) | |||||
| Class | Engine capacity (cc) | Minimum line dia (in) | Line length (feet) | Number of laps (1/4 mile) | Pull test |
| 1A Vintage | Approved 1.5 | 0.015 | 35 | 6 | - |
| 1B Classic | Any 1.5 diesel | 0.015 | 35 | 6 | - |
Vintage handicap
| Class | Engine capacity (cc) | Minimum line dia (in) | Line length | Number of laps (1/2 mile) | Pull test (lb) | 1 | 0.9 | 0.012 | 42' 0" | 10 | 8 | 2 | 1.64 | 0.012 | 42' 0" | 10 | 12 | 2 Classic | 1.64 | 0.012 | 42' 0" | 10 | 12 | 3 | 2.50 | 0.016 | 52' 6" | 8 | 25 | 4 | 3.5 | 0.016 | 52' 6" | 8 | 25 | 5 | 5.0 | 0.018 | 52' 6" | 8 | 40 | 6 | 8.2 | 0.022 | 60' 0" | 7 | 50 | 7 | 10.0 | 0.022 | 60' 0" | 7 | 50 | |
These are normally flown against each other as with the BMFA classes above.
FAI
| Class | Engine capacity (cc) | Minimum line dia (mm) | Line length (metres) | Number of laps (1 Km) | Max dry weight (gms) | Pull test | F2A | 2.5 | 0.40 | 17.69 | 9 | - | 50G | |
This list is not definitive. 21 classes so far is confusing enough! There is a vintage class for the KK 'Phantom' and other 'one make' classes. And that's only in the UK...
The above diagrams are reproduced from the BMFA rule book (Contest Rules Section 4 - Control Line Book 1) covering Speed and Aerobatics (current cost £3.00), which can be obtained from:
British Model Flying Association,
Chacksfield House,
31 St Andrews Road,
Leicester.
LE2 8RE.
Tel: 0116 244 0028, FAX: 0116 244 0645.
Email: admin@bmfa.org
Website: http://www.bmfa.org
Andy Whorton has a Team Racing and Speed website with news, contest calendar and
results at:
http://ourworld.compuserve.com/homepages/ajwltd/